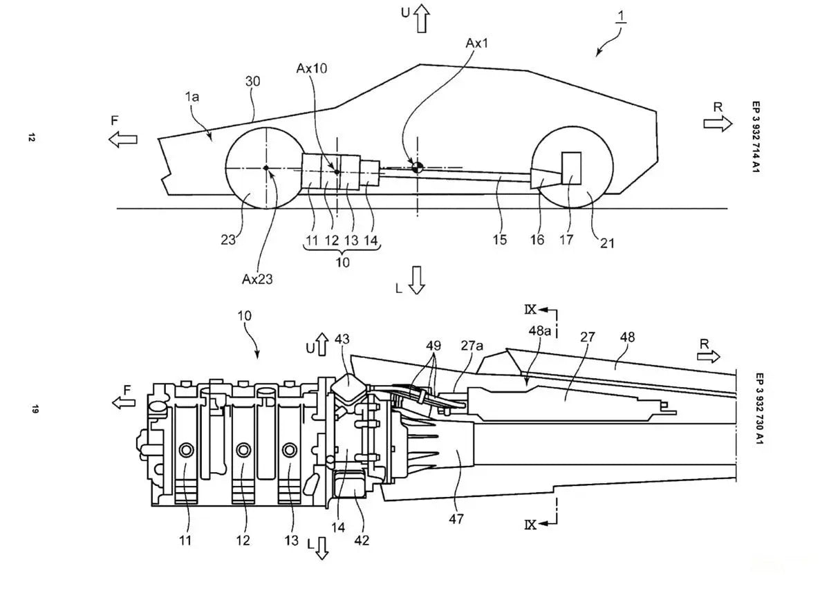
Mazda właśnie opatentowała nowy samochód z napędem na tylne koła, silnikiem Wankla i technologią hybrydową. Może to stanowić poważną zmianę w branży motoryzacyjnej, ponieważ może znacząco poprawić zużycie paliwa i emisję spalin. Mazda jako firma pragnie zwiększyć zużycie paliwa i emisję spalin dzięki nowemu projektowi, który może znacząco zmienić zasady gry w branży motoryzacyjnej. Samochód napędzany silnikiem obrotowym działa na zasilaniu akumulatorowym lub benzynie, w zależności od potrzeb w danej chwili. Układ napędu na tylne koła pozwala na bardzo nisko położony środek ciężkości, co zapewnia lepsze prowadzenie i stabilność.

Silnik rotacyjny to charakterystyczny projekt Mazdy, ale został wycofany ze względu na niskie zużycie paliwa i emisję spalin. Ten nowy patent może być dla firmy sposobem na przywrócenie klasycznego projektu za pomocą nowoczesnej technologii, która może poprawić jego wydajność i zmniejszyć emisję dwutlenku węgla. Samochód z napędem na tylne koła ma silnik benzynowy, ale dołączają do niego silniki elektryczne. Te silniki elektryczne nie napędzają samochodu, zamiast tego ładują akumulator w razie potrzeby, a także zwiększają moment obrotowy podczas przyspieszania. Silnik rotacyjny przejmuje kontrolę w sytuacjach, w których potrzebna jest większa moc, np. podczas jazdy z dużą prędkością lub gwałtownego przyspieszania.

Silnik rotacyjny to charakterystyczny projekt Mazdy, ale został wycofany ze względu na niskie zużycie paliwa i emisję spalin. Ten nowy patent może być dla firmy sposobem na przywrócenie klasycznego projektu za pomocą nowoczesnej technologii, która może poprawić jego wydajność i zmniejszyć emisję dwutlenku węgla. Samochód z napędem na tylne koła posiada silnik spalinowy, ale dołączają do niego silniki elektryczne. Te silniki elektryczne nie napędzają samochodu, zamiast tego ładują akumulator i zwiększają moment obrotowy podczas przyspieszania. Silnik rotacyjny przejmuje kontrolę w sytuacjach, w których potrzebna jest większa moc, np. podczas jazdy z dużą prędkością lub gwałtownego przyspieszania.
